As part of your Royal Navy Recruiting Test, you will be required to take a Mechanical Comprehension test; one of four sub-sections of your assessment and the Royal Navy psychometric test. The Mechanical Comprehension part of your Royal Navy Recruiting test is to assess your mechanical and technical understanding. These types of questions often relate to:
- Gears and Pulleys;
- Springs;
- Weights;
- Levers;
- Rotating objects.
Within a Royal Navy psychometric test, Mechanical Comprehension tests are there to measure an individual’s ability to understand mechanical concepts. The tests are usually multiple-choice and present simple encountered mechanisms and technical situations. The majority of Mechanical Comprehension tests require a working knowledge of basic mechanical operations and the application of physical laws.
On the day of your RN assessment, you will have 10 minutes in which to answer the 30 questions relating to Mechanical Comprehension. In your real test, please note that you will be given a separate sheet of paper in which you indicate your answers, however for the purpose of this book, we would like you to indicate your answer underneath the question by highlighting or writing your answer.
In order to gain some understanding of the types of questions you will face during this sub-test, and how you go about answering them, check out the following pages of example questions. These examples provide clear and detailed descriptions of how to answer the question correctly, what to expect, what to look out for, and useful tips regarding each question type.
Examples of Mechanical Comprehension
Levers and Force
A lever consists of a bar which is balanced on a fixed point, known as the fulcrum. If you needed to lift the weight, you will need to calculate the weight placed at the opposite end.
Formula:
Force needed = (weight x distance from fulcrum to weight) ÷ distance from fulcrum point where force is being applied.
Example:
- F = (weight x distance from fulcrum to weight) ÷ distance from fulcrum to point where force is being applied.
- F = (80 x 9) ÷ 12
- F = 720 ÷ 12
- F = 60kg
Answer: 60kg.
Single and Double Pulleys
With fixed pulleys, the way to ascertain the force required to support the weight is dependent on two variables, the supporting ropes and the conversion between Kg and Newton 1kg = 9.8 Newton.

Diagram A = there is only one section of rope supporting the weight. Therefore, this can be worked out by just converting Kg to Newton: 10 x 9.8 = 98 N.
Diagram B = there are two ropes supporting the weight. Therefore, this can be worked out by: 10 (weight) ÷ 2 (number of ropes supporting the weight) = 5, then 5 x 9.8 = 49 N.
Gears
If gears are connected by a chain or belt, then the gears will all move in the same direction.

If the gears are touching, then adjacent gears move in the opposite direction. In the example below, X and Y will move in opposite directions.

Springs

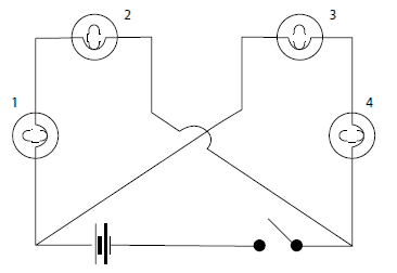
Circuits

Questions regarding circuits usually follow a simple circuit as above, which will include: a power source, switches, bulbs and a path of wiring.
Royal Navy Psychometric Test: Sample Questions
Question 1:
Which weight requires the most force to lift it? Choose option A or B.

Question 2:
How much weight is required to balance point X? Choose from options A-D.

A = 5kg
B = 10kg
C = 15kg
D = 20kg
Question 3:
If cog C turns anti-clockwise at a speed of 10rpm, which way and at what speed will cog B turn? Choose from options A-D.

A = 10rpm / anticlockwise
B = 10rpm / clockwise
C = 20rpm / anticlockwise
D = 20rpm / clockwise
Question 4:
Which tool would you use to claw nails from wood, 1, 2, 3, or 4? Choose from options 1-4.

Question 5:
If bulb 2 is removed which bulbs will illuminate? Choose from options A-D.

A = None
B = One
C = Two
D = Three
Answers to Sample Questions
Question 1. A.
Explanation = when answering questions where there is a single pulley system, if the pulley is fixed, as in A, then the force required to lift the weight is the same as the weight, i.e. 5kg. However, where the pulley system is not fixed and it moves with the weight, as is the case with pulley system B, then the weight required to lift it is half the weight. This means that the weight required to lift B is 2.5kg. The answer to this question is therefore A, as pulley System A requires the most weight to lift it.
Question 2. B = 10kg.
Explanation = Point X is twice the distance from the balance point. Therefore, half the weight is required. The answer is B, 10Kg.
Question 3. B = 10rpm / clockwise.
Explanation = if cog C turns anti-clockwise at a speed of 10rpm then it is relatively straightforward to determine that cog B will rotate the same speed but in a clockwise direction.
Question 4. A = 1.
Explanation = the only tool you can use from the selection to claw nails from wood is the claw hammer, due to its claw. The claw hammer is option A.
Question 5. D = none.
Explanation = no bulbs would illuminate because the circuit in its current state is not working. This is because the switch is open.
A few final words on the royal navy psychometric test
We hope this blog has given you a greater understanding of what a Royal Navy psychometric test is like, especially ob questions to do with mechanical comprehension. Follow the links below for more content on this, and good luck for the future!
For more guidance on any Royal Navy test, focusing on the Recruiting Test, follow the link to access our resource.
Like How2Become on Facebook!
Looking for more Mechanical Comprehension test questions?
Download your free guide to The Core Concepts of Mechanical Comprehension.
Includes:
- Practice questions and answers;
- Top Tips to passing mechanical comprehension tests;
- Proven strategies to boost your scores.
can you send more tests please
Hi Sue,
We have a variety of test books which you will find useful. Are you looking for mechanical comprehension specifically, or alternative tests?
Sincerely,
The How2Become Team